关于绿能
服务热线
0577-57157777
|
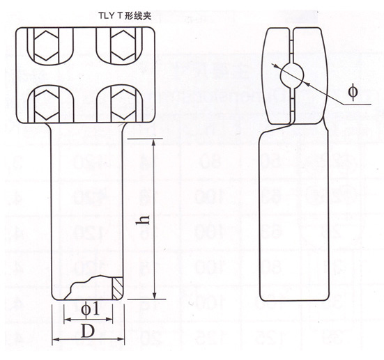
型号 Catalog No. |
适用导线外径(MM) Suitable Conductor |
主要尺寸Dimensions(mm) |
重量 Weight (kg) |
||||
| 母线Bus |
引下线 Conductor |
Φ1 | Φ2 | D |
h |
||
| TLY-600K/300 | LGKK-600 | LGJ-300 | 52 | 25.5 | 40 | 110 | 5.5 |
| TLY-600K/400 | LGKK-600 | LGJ-400 | 52 | 28.5 | 45 | 120 | 5.8 |
| TLY-600K/600K | LGKK-600 | LGKK-600 | 52 | 53.0 | 76 | 180 | 7.2 |
| TLY-1000N/1000N | NRLH58GJ-1000 | NRLH58GJ-1000 | 43 | 43.5 | 76 | 210 | 6.5 |
| TLY-1400/300 | LGJQT-1400 | 300LGJ- | 52 | 25.5 | 50 | 110 | 5.5 |
| TLY-1400/400 | LGJQT-1400 | LGJ-400 | 52 | 28.5 | 45 | 120 | 5.8 |
| TLY-1400/1400 | LGJQT-1400 | LGJQT-1400 | 52 | 53.0 | 76 | 180 | 6.2 |
| TLY-1440N/1440N | NAHLGJQ-1440 | NAHLGJQ-1440 | 52 | 53.0 | 80 | 240 | 11.3 |
主体为铝制件,其余为热镀锌钢制件。









